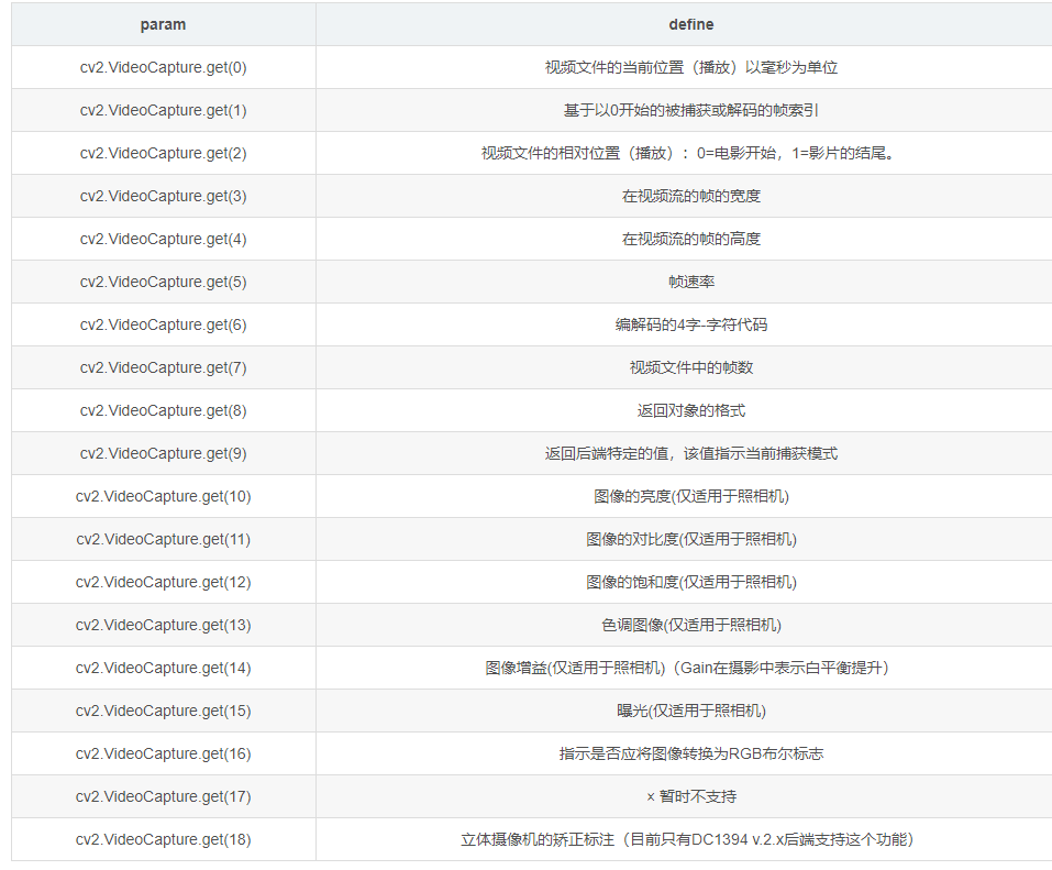
Cap_Prop_Pos_Msec .   ret, frame = cap.read() before call :  videoio is a class that provides methods for video input and output.   cv::cap_prop_pos_msec is a property of video capture devices that represents the current position in.   learn how to use the cv::videocapture class for video capturing from files, sequences or cameras.   cap_prop_pos_frames property represents the current position of the video. Current position of the video file in milliseconds.   learn how to get the properties of cv2.videocapture object, such as width, height, fps, position, and more. It has a field named cap_prop_pos_msec that represents the.  cv::cap_prop_pos_msec is a property identifier for video capture objects that represents the current position in. See the syntax and examples for.
        
         
         
        from github.com 
     
        
        Current position of the video file in milliseconds.   learn how to get the properties of cv2.videocapture object, such as width, height, fps, position, and more.   ret, frame = cap.read() before call :   cap_prop_pos_frames property represents the current position of the video. It has a field named cap_prop_pos_msec that represents the.  cv::cap_prop_pos_msec is a property identifier for video capture objects that represents the current position in.  videoio is a class that provides methods for video input and output. See the syntax and examples for.   cv::cap_prop_pos_msec is a property of video capture devices that represents the current position in.   learn how to use the cv::videocapture class for video capturing from files, sequences or cameras.
    
    	
            
	
		 
	 
         
    CAP_PROP_FRAME_COUNT & CAP_PROP_POS_FRAMES do not work · Issue 12091 
    Cap_Prop_Pos_Msec    ret, frame = cap.read() before call : Current position of the video file in milliseconds.   ret, frame = cap.read() before call :   cv::cap_prop_pos_msec is a property of video capture devices that represents the current position in.   learn how to get the properties of cv2.videocapture object, such as width, height, fps, position, and more.   cap_prop_pos_frames property represents the current position of the video.  videoio is a class that provides methods for video input and output. See the syntax and examples for.   learn how to use the cv::videocapture class for video capturing from files, sequences or cameras. It has a field named cap_prop_pos_msec that represents the.  cv::cap_prop_pos_msec is a property identifier for video capture objects that represents the current position in.
            
	
		 
	 
         
 
    
         
        From barcelonageeks.com 
                    ¿Cómo obtener las propiedades del objeto Python cv2.VideoCapture Cap_Prop_Pos_Msec    learn how to get the properties of cv2.videocapture object, such as width, height, fps, position, and more.   ret, frame = cap.read() before call :   cv::cap_prop_pos_msec is a property of video capture devices that represents the current position in.   learn how to use the cv::videocapture class for video capturing from files, sequences or cameras.  videoio is. Cap_Prop_Pos_Msec.
     
    
         
        From github.com 
                    Setting CAP_PROP_EXPOSURE on VideoCapture does not change anything Cap_Prop_Pos_Msec    ret, frame = cap.read() before call : See the syntax and examples for.  videoio is a class that provides methods for video input and output. Current position of the video file in milliseconds.   cv::cap_prop_pos_msec is a property of video capture devices that represents the current position in.   learn how to use the cv::videocapture class for video. Cap_Prop_Pos_Msec.
     
    
         
        From 9to5answer.com 
                    [Solved] How to set camera FPS in OpenCV? CV_CAP_PROP_FPS 9to5Answer Cap_Prop_Pos_Msec  Current position of the video file in milliseconds. See the syntax and examples for.  cv::cap_prop_pos_msec is a property identifier for video capture objects that represents the current position in.  videoio is a class that provides methods for video input and output.   learn how to get the properties of cv2.videocapture object, such as width, height, fps, position, and. Cap_Prop_Pos_Msec.
     
    
         
        From blog.csdn.net 
                    opencv截取任一时间段的视频帧_videocapture计算抓图时间CSDN博客 Cap_Prop_Pos_Msec    learn how to use the cv::videocapture class for video capturing from files, sequences or cameras. Current position of the video file in milliseconds. It has a field named cap_prop_pos_msec that represents the. See the syntax and examples for.   ret, frame = cap.read() before call :  cv::cap_prop_pos_msec is a property identifier for video capture objects that represents the. Cap_Prop_Pos_Msec.
     
    
         
        From github.com 
                    cv2.CAP_PROP_POS_MSEC does not work, if not "read" is called · Issue Cap_Prop_Pos_Msec  See the syntax and examples for.   learn how to get the properties of cv2.videocapture object, such as width, height, fps, position, and more.   cap_prop_pos_frames property represents the current position of the video.   learn how to use the cv::videocapture class for video capturing from files, sequences or cameras.  cv::cap_prop_pos_msec is a property identifier for video capture objects. Cap_Prop_Pos_Msec.
     
    
         
        From fotomasterltd.zendesk.com 
                    How To RePosition Props FOTO MASTER Cap_Prop_Pos_Msec    learn how to use the cv::videocapture class for video capturing from files, sequences or cameras. See the syntax and examples for.   cv::cap_prop_pos_msec is a property of video capture devices that represents the current position in.  cv::cap_prop_pos_msec is a property identifier for video capture objects that represents the current position in. Current position of the video file in. Cap_Prop_Pos_Msec.
     
    
         
        From github.com 
                    Setting frames with cap.set(cv2.CAP_PROP_POS_FRAMES, frame_num) differs Cap_Prop_Pos_Msec    ret, frame = cap.read() before call :   cv::cap_prop_pos_msec is a property of video capture devices that represents the current position in. Current position of the video file in milliseconds.   learn how to get the properties of cv2.videocapture object, such as width, height, fps, position, and more.   cap_prop_pos_frames property represents the current position of the video. . Cap_Prop_Pos_Msec.
     
    
         
        From cloud.tencent.com 
                    OpenCVPython学习教程.1腾讯云开发者社区腾讯云 Cap_Prop_Pos_Msec   videoio is a class that provides methods for video input and output. It has a field named cap_prop_pos_msec that represents the.   ret, frame = cap.read() before call :  cv::cap_prop_pos_msec is a property identifier for video capture objects that represents the current position in. Current position of the video file in milliseconds. See the syntax and examples for.. Cap_Prop_Pos_Msec.
     
    
         
        From forum.opencv.org 
                    cv2.CAP_PROP_POS_FRAMES sometimes starts at a keyframe sometimes doesn Cap_Prop_Pos_Msec  Current position of the video file in milliseconds.  videoio is a class that provides methods for video input and output.   cv::cap_prop_pos_msec is a property of video capture devices that represents the current position in.   cap_prop_pos_frames property represents the current position of the video.  cv::cap_prop_pos_msec is a property identifier for video capture objects that represents the current. Cap_Prop_Pos_Msec.
     
    
         
        From 9to5answer.com 
                    [Solved] Getting timestamp of each frame in a video 9to5Answer Cap_Prop_Pos_Msec   videoio is a class that provides methods for video input and output. It has a field named cap_prop_pos_msec that represents the.   cap_prop_pos_frames property represents the current position of the video.   learn how to use the cv::videocapture class for video capturing from files, sequences or cameras. See the syntax and examples for.   cv::cap_prop_pos_msec is a property of. Cap_Prop_Pos_Msec.
     
    
         
        From blog.csdn.net 
                    Python:视频拆分成一帧一帧的图片_视频分解成一帧帧CSDN博客 Cap_Prop_Pos_Msec    learn how to get the properties of cv2.videocapture object, such as width, height, fps, position, and more. It has a field named cap_prop_pos_msec that represents the.   learn how to use the cv::videocapture class for video capturing from files, sequences or cameras.  videoio is a class that provides methods for video input and output. See the syntax and. Cap_Prop_Pos_Msec.
     
    
         
        From github.com 
                    cap.get(cv2.CAP_PROP_POS_MSEC) return wrong result · Issue 123 Cap_Prop_Pos_Msec    cv::cap_prop_pos_msec is a property of video capture devices that represents the current position in. See the syntax and examples for.   ret, frame = cap.read() before call :  videoio is a class that provides methods for video input and output. It has a field named cap_prop_pos_msec that represents the.  cv::cap_prop_pos_msec is a property identifier for video capture. Cap_Prop_Pos_Msec.
     
    
         
        From 9to5answer.com 
                    [Solved] Why does OpenCV cap.get(cv2.CAP_PROP_POS_MSEC) 9to5Answer Cap_Prop_Pos_Msec    learn how to get the properties of cv2.videocapture object, such as width, height, fps, position, and more. Current position of the video file in milliseconds. See the syntax and examples for.  videoio is a class that provides methods for video input and output. It has a field named cap_prop_pos_msec that represents the.   ret, frame = cap.read() before. Cap_Prop_Pos_Msec.
     
    
         
        From www.codespeedy.com 
                    Extract image from video at given time using OpenCV in Python Cap_Prop_Pos_Msec    cv::cap_prop_pos_msec is a property of video capture devices that represents the current position in.   cap_prop_pos_frames property represents the current position of the video.  videoio is a class that provides methods for video input and output.   learn how to get the properties of cv2.videocapture object, such as width, height, fps, position, and more. Current position of the. Cap_Prop_Pos_Msec.
     
    
         
        From mc.dfrobot.com.cn 
                    行空板——流光溢彩 DF创客社区 Cap_Prop_Pos_Msec    learn how to get the properties of cv2.videocapture object, such as width, height, fps, position, and more.   cv::cap_prop_pos_msec is a property of video capture devices that represents the current position in.  videoio is a class that provides methods for video input and output.   cap_prop_pos_frames property represents the current position of the video.   learn how to. Cap_Prop_Pos_Msec.
     
    
         
        From github.com 
                    CAP_PROP_FRAME_COUNT & CAP_PROP_POS_FRAMES do not work · Issue 12091 Cap_Prop_Pos_Msec   cv::cap_prop_pos_msec is a property identifier for video capture objects that represents the current position in.   ret, frame = cap.read() before call :   cap_prop_pos_frames property represents the current position of the video.  videoio is a class that provides methods for video input and output.   learn how to use the cv::videocapture class for video capturing from files,. Cap_Prop_Pos_Msec.
     
    
         
        From blog.csdn.net 
                    OpenCV学习(函数)_opencv函数CSDN博客 Cap_Prop_Pos_Msec    cap_prop_pos_frames property represents the current position of the video. Current position of the video file in milliseconds.   ret, frame = cap.read() before call :   learn how to get the properties of cv2.videocapture object, such as width, height, fps, position, and more.   learn how to use the cv::videocapture class for video capturing from files, sequences or cameras.. Cap_Prop_Pos_Msec.
     
    
         
        From forum.opencv.org 
                    CAP_PROP_POS_FRAMES is abnormal slow Python OpenCV Cap_Prop_Pos_Msec    cap_prop_pos_frames property represents the current position of the video.   learn how to use the cv::videocapture class for video capturing from files, sequences or cameras.  videoio is a class that provides methods for video input and output. Current position of the video file in milliseconds.  cv::cap_prop_pos_msec is a property identifier for video capture objects that represents the. Cap_Prop_Pos_Msec.